Contact us
Call us at
Available 6:00 AM – 5:00 PM (PST) Business Days
Download
Download Manuals, Datasheets, Software and more:
Feedback
TIVP Series IsoVu Measurement System User Manual
This manual describes installing and setting up the TIVP Series IsoVu Measurement System, and provides specifications and basic probe operations.
This manual applies to:
TIVP02, TIVP05, TIVP1, TIVP02L, TIVP05L, TIVP1L
By downloading, you agree to the terms and conditions of the Manuals Download Agreement.
Manuals Download Agreement
ATTENTION: please read the following terms and conditions carefully before downloading any documents from this website. By downloading manuals from Tektronix' website, you agree to the following terms and conditions:
Manuals for Products That Are Currently Supported:
Tektronix hereby grants permission and license to owners of Tektronix instruments to download and reproduce the manuals on this website for their own internal or personal use. Manuals for currently supported products may not be reproduced for distribution to others unless specifically authorized in writing by Tektronix, Inc.
A Tektronix manual may have been revised to reflect changes made to the product during its manufacturing life. Thus, different versions of a manual may exist for any given product. Care should be taken to ensure that one obtains the proper manual version for a specific product serial number.
Manuals for Products That Are No Longer Supported:
Tektronix cannot provide manuals for measurement products that are no longer eligible for long term support. Tektronix hereby grants permission and license for others to reproduce and distribute copies of any Tektronix measurement product manual, including user manuals, operator's manuals, service manuals, and the like, that (a) have a Tektronix Part Number and (b) are for a measurement product that is no longer supported by Tektronix.
A Tektronix manual may be revised to reflect changes made to the product during its manufacturing life. Thus, different versions of a manual may exist for any given product. Care should be taken to ensure that one obtains the proper manual version for a specific product serial number.
This permission and license does not apply to any manual or other publication that is still available from Tektronix, or to any manual or other publication for a video production product or a color printer product.
Disclaimer:
Tektronix does not warrant the accuracy or completeness of the information, text, graphics, schematics, parts lists, or other material contained within any measurement product manual or other publication that is not supplied by Tektronix or that is produced or distributed in accordance with the permission and license set forth above.
Tektronix may make changes to the content of this website or to its products at any time without notice.
Limitation of Liability:
TEKTRONIX SHALL NOT BE LIABLE FOR ANY DAMAGES WHATSOEVER (INCLUDING, WITHOUT LIMITATION, ANY CONSEQUENTIAL OR INCIDENTAL DAMAGES, DAMAGES FOR LOSS OF PROFITS, BUSINESS INTERRUPTION, OR FOR INFRINGEMENT OF INTELLECTUAL PROPERTY) ARISING OUT OF THE USE OF ANY MEASUREMENT PRODUCT MANUAL OR OTHER PUBLICATION PRODUCED OR DISTRIBUTED IN ACCORDANCE WITH THE PERMISSION AND LICENSE SET FORTH ABOVE.
Read Online
OPERATING INFORMATION
- Measurement system handling best practices
- Controls and indicators
- Cable flags
- Probe tips
- Connecting to a circuit
- Self-calibration
- AutoZero
- Menu button
- Ranges
- Auto Range
- Selecting a probe tip
- Deskew
- Input offset
- Input coupling AC or DC
- Voltage range
- Connecting the sensor tip cables
- Installing the probe tip adapters
- Installing the square pins on the circuit board
Important safety information
This manual contains information and warnings that must be followed by the user for safe operation and to keep the product in a safe condition.
General safety summary
Use the product only as specified. Review the following safety precautions to avoid injury and prevent damage to this product or any products connected to it. Carefully read all instructions. Retain these instructions for future reference.
This product shall be used in accordance with local and national codes.
For correct and safe operation of the product, it is essential that you follow generally accepted safety procedures in addition to the safety precautions specified in this manual.
The product is designed to be used by trained personnel only.
Only qualified personnel who are aware of the hazards involved should remove the cover for repair, maintenance, or adjustment.
Before use, always check the product with a known source to be sure it is operating correctly.
This product is not intended for detection of hazardous voltages.
Use personal protective equipment to prevent shock and arc blast injury where hazardous live conductors are exposed.
While using this product, you may need to access other parts of a larger system. Read the safety sections of the other component manuals for warnings and cautions related to operating the system.
When incorporating this equipment into a system, the safety of that system is the responsibility of the assembler of the system.
To avoid fire or personal injury
Connect and disconnect properly
Do not connect or disconnect probes or test leads while they are connected to a voltage source.
Use only insulated voltage probes, test leads, and adapters supplied with the product, or indicated by Tektronix to be suitable for the product.
Connect the probe output to the measurement instrument before connecting the probe to the circuit under test. Connect the probe reference lead to the circuit under test before connecting the probe input. Disconnect the probe input and the probe reference lead from the circuit under test before disconnecting the probe from the measurement instrument.
De-energize the circuit under test before connecting or disconnecting the current probe.
Connect the probe reference lead to earth ground only.
Do not connect a current probe to any wire that carries voltages or frequencies above the current probe voltage rating.
Observe all terminal ratings
To avoid fire or shock hazard, observe all rating and markings on the product. Consult the product manual for further ratings information before making connections to the product.
Do not exceed the Measurement Category (CAT) rating and voltage or current rating of the lowest rated individual component of a product, probe, or accessory. Use caution when using 1:1 test leads because the probe tip voltage is directly transmitted to the product.
Do not apply a potential to any terminal that exceeds the maximum rating of that terminal.
Do not float the reference terminal above the rated voltage for that terminal.
The measuring terminals on this product are not rated for connection to mains or Category II, III, or IV circuits.
Do not connect a current probe to any wire that carries voltages above the current probe voltage rating.
Do not operate without covers
Do not operate this product with covers or panels removed, or with the case open. Hazardous voltage exposure is possible.
Avoid exposed circuitry
Do not touch exposed connections and components when power is present.
Do not operate with suspected failures
If you suspect that there is damage to this product, have it inspected by qualified service personnel.
Do not operate in wet/damp conditions
Be aware that condensation may occur if a unit is moved from a cold to a warm environment.
Do not operate in an explosive atmosphere
Keep product surfaces clean and dry
Remove the input signals before you clean the product.
Provide a safe working environment
Always place the product in a location convenient for viewing the display and indicators.
Avoid improper or prolonged use of keyboards, pointers, and button pads. Improper or prolonged keyboard or pointer use may result in serious injury.
Be sure your work area meets applicable ergonomic standards. Consult with an ergonomics professional to avoid stress injuries.
Probes and test leads
Keep fingers behind the protective barrier, protective finger guard, or tactile indicator on the probes. Remove all probes, test leads and accessories that are not in use.
Use only correct Measurement Category (CAT), voltage, temperature, altitude, and amperage rated probes, test leads, and adapters for any measurement.
![]() | WARNING:To avoid electric shock, keep the probe wire as far from the tip and high voltage circuits as possible. The probe wire voltage rating is less than the probe tip voltage rating. Therefore the probe wire may not provide adequate protection. |
![]() | WARNING:To avoid electric shock, do not use the probe if the wear indicator on the cable becomes visible. Contact Tektronix at tek.com for a replacement. |
Beware of high voltages
Understand the voltage ratings for the probe you are using and do not exceed those ratings. Two ratings are important to know and understand:
- The maximum measurement voltage from the probe tip to the probe reference lead.
- The maximum floating voltage from the probe reference lead to earth ground.
These two voltage ratings depend on the probe and your application. Refer to the Specifications section of the manual for more information.
![]() | WARNING:To prevent electrical shock, do not exceed the maximum measurement or maximum floating voltage for the oscilloscope input BNC connector, probe tip, or probe reference lead. |
Inspect the probe and accessories
Before each use, inspect probe and accessories for damage (cuts, tears, or defects in the probe body, accessories, or cable jacket). Do not use if damaged.
Ground-referenced oscilloscope use
Do not float the reference lead of the probe when using with ground-referenced oscilloscopes. The reference lead must be connected to earth potential (0 V).
Floating measurement use
Do not float the reference lead of the probe above the rated float voltage.
Service the probe and accessories
Go to tek.com/support to find information on contacting Tektronix Service Support.
Terms in this manual and on the product
These terms may appear in this manual:
![]() | WARNING:Warning statements identify conditions or practices that could result in injury or loss of life. |
![]() | CAUTION:Caution statements identify conditions or practices that could result in damage to this product or other property. |
These terms may appear on the product:
- DANGER indicates an injury hazard immediately accessible as you read the marking.
- WARNING indicates an injury hazard not immediately accessible as you read the marking.
- CAUTION indicates a hazard to property including the product.
Symbols on the product
|
| When this symbol is marked on the product, be sure to consult the manual to find out the nature of the potential hazards and any actions which have to be taken to avoid them. (This symbol may also be used to refer the user to ratings in the manual.) |
The following symbols(s) may appear on the product.
![]() CAUTION: Refer to Manual | ![]() WARNING: High Voltage | ![]() Earth Terminal |
Laser safety
This product complies with 21 CFR 1040.10 and 1040.11 except for conformance with IEC 60825-1Ed. 3., as described in Laser Notice 56, dated May 8, 2019.
CLASS 1 LASER PRODUCT
![]() | WARNING:Damage to the probe, especially broken optic fibers, can emit high-power laser radiation that is not visible with to the human eye. This radiation poses significant risks, including permanent eye and skin injuries. |
![]() | WARNING:Using controls or making adjustments to perform procedures other than those specified in the user manual can result in hazardous radiation exposure. |
Always handle the fiber optic cable with care as instructed in the Measurement system handling best practices.
- Before every use, inspect the cable for kinks or damage to the optic fiber. Damage may not be visible, so always handle the cable properly. Discontinue use of the probe if you suspect cable misuse or damage.
- If the status LED is blinking red, discontinue use and disconnect from the instrument.
If you are unsure of the condition of the cable, return it to Tektronix for inspection (Ref. CS-SUP-0240).
Visit the Safety Recall page on tek.com for the latest updates and information.
Environmental requirements
| Characteristic | Description | |
|---|---|---|
| Temperature | Operating compensation box: 0° C to 30° C | |
| Operating probe head: 0° C to 50° C | ||
| Operating tip cable/adapters: -40° C to 85° C | ||
| Non-operating compensation box: -20° C to +70° C | ||
| Non-operating probe head: -20° C to +70° C | ||
| Non-operating tip cable/adapters: -40° C to 85° C | ||
| Humidity | Operating compensation box: 5% to 85% RH (Relative Humidity) at up to +30° C, non-condensing | |
| Operating probe head: 5% to 85% RH (Relative Humidity) at up to +40° C, 5% to 45% RH above +40° C up to +50° C, non-condensing. | ||
| Operating tip cable/adapters: 5% to 85% RH (Relative Humidity) at up to +85° C, non-condensing | ||
| Non-operating compensation box/probe head: 5% to 85% RH (Relative Humidity) at up to +40° C, 5% to 45% RH above +40° C up to +85° C, non-condensing. | ||
| Non-operating tip cable/adapters: 5% to 85% RH (Relative Humidity) at up to +85° C, non-condensing. | ||
| Altitude | Operating: 3000 m (9843 ft.) | |
| Non-operating: 12,000 m (39370 ft.) | ||
Clearance requirements
The unique common mode voltage range of the measurement system allows it to be used in the presence of high frequency/high voltage common mode signals. It is important to observe all precautions while using this product.
![]() | WARNING:Electrical shock can occur while using this measurement system. The system is intended to isolate the operator from hazardous input voltages (common mode voltages); the plastic case of the probe head and the shield on the probe tip do not supply safe isolation. Maintain the safe clearance from the probe head and probe tip while the measurement system is connected to the energized circuit as recommended in this document. Do not access the RF Burn Hazard Zone while taking measurements on a live circuit. |
While measuring high frequency common mode signals, there is a risk of RF burns. Refer to the following derating curve to identify the danger areas. Measuring common mode signals within the gray shaded area can result in RF burns within 1 m (40 in.) of the probe head and earth ground.

The following figure shows the components of the measurement system and the potential RF burn area when working with hazardous voltages. The RF burn area of 1 m (40 in.) is indicated by the dashed lines surrounding the probe head.

Compliance information
This section lists the safety and environmental standards with which the instrument complies. This product is intended for use by professionals and trained personnel only; it is not designed for use in households or by children.
Compliance questions may be directed to the following address:
Tektronix, Inc.
PO Box 500, MS 19-045
Beaverton, OR 97077, US
tek.com
Safety compliance
This section lists the safety standards with which the product complies and other safety compliance information.
EU declaration of conformity – low voltage
Compliance was demonstrated to the following specification as listed in the Official Journal of the European Union:
Low Voltage Directive 2014/35/EU.
- EN 61010-1. Safety Requirements for Electrical Equipment for Measurement, Control, and Laboratory Use – Part 1: General Requirements
U.S. nationally recognized testing laboratory listing
- UL 61010-1. Safety Requirements for Electrical Equipment for Measurement, Control, and Laboratory Use – Part 1: General Requirements
Canadian certification
- CAN/CSA-C22.2 No. 61010-1. Safety Requirements for Electrical Equipment for Measurement, Control, and Laboratory Use – Part 1: General Requirements
Additional compliances
- IEC 61010-1. Safety Requirements for Electrical Equipment for Measurement, Control, and Laboratory Use – Part 1: General Requirements
- EN 60825–1. Safety of Laser Products-Part 1: Equipment Classification and Requirements - Edition 3 (2014)
- US 21CFR PT1010 Performance Standard for Electronic Parts 2015
- US 21CFR PT1040 Performance Standards for Light Emitting Products 2015
Equipment type
Test and measuring equipment.
Safety class
Class 1 – grounded product.
Pollution degree rating
Pollution degree 2 (as defined in IEC 61010-1). Normally only dry, nonconductive pollution occurs. Occasionally a temporary conductivity that is caused by condensation must be expected. This location is a typical office/home environment. Temporary condensation occurs only when the product is out of service.
A measure of the contaminants that could occur in the environment around and within a product. Typically the internal environment inside a product is considered to be the same as the external. Products should be used only in the environment for which they are rated.
IP rating
IP20 (as defined in IEC 60529).
Mains overvoltage category rating
Overvoltage Category I. For equipment intended to be connected to a mains supply in which means have been taken to substantially and reliably reduce transient overvoltages to a level where they cannot cause a hazard.
Measurement terminals on this product may be rated for measuring mains voltages from one or more of the following categories (see specific ratings marked on the product and in the manual). Only mains power supply circuits have an overvoltage category rating. Only measurement circuits have a measurement category rating. Other circuits within the product do not have either rating.
Environmental compliance
This section provides information about the environmental impact of the product.
Product end-of-life handling
Observe the following guidelines when recycling an instrument or component:
- Equipment recycling
- Production of this equipment required the extraction and use of natural resources. The equipment may contain substances that could be harmful to the environment or human health if improperly handled at the product’s end of life. To avoid release of such substances into the environment and to reduce the use of natural resources, we encourage you to recycle this product in an appropriate system that will ensure that most of the materials are reused or recycled appropriately.
|
This symbol indicates that this product complies with the applicable European Union requirements according to Directives 2012/19/EU and 2006/66/EC on waste electrical and electronic equipment (WEEE) and batteries. For information about recycling options, check the Tektronix Web site (http://www.tek.com/productrecycling). |
TEKTRONIX END USER LICENSE AGREEMENT
Third Party Software Licenses
This component module is generated by Processor Expert. Do not modify it. Copyright : 1997 - 2015 Freescale Semiconductor, Inc. All Rights Reserved. THIS SOFTWARE IS PROVIDED BY THE COPYRIGHT HOLDERS AND CONTRIBUTORS "AS IS" AND ANY EXPRESS OR IMPLIED WARRANTIES, INCLUDING, BUT NOT LIMITED TO, THE IMPLIED WARRANTIES OF MERCHANTABILITY AND FITNESS FOR A PARTICULAR PURPOSE ARE DISCLAIMED. IN NO EVENT SHALL THE COPYRIGHT HOLDER OR CONTRIBUTORS BE LIABLE FOR ANY DIRECT, INDIRECT, INCIDENTAL, SPECIAL, EXEMPLARY, OR CONSEQUENTIAL DAMAGES (INCLUDING, BUT NOT LIMITED TO, PROCUREMENT OF SUBSTITUTE GOODS OR SERVICES; LOSS OF USE, DATA, OR PROFITS; OR BUSINESS INTERRUPTION) HOWEVER CAUSED AND ON ANY THEORY OF LIABILITY, WHETHER IN CONTRACT, STRICT LIABILITY, OR TORT (INCLUDING NEGLIGENCE OR OTHERWISE) ARISING IN ANY WAY OUT OF THE USE OF THIS SOFTWARE, EVEN IF ADVISED OF THE POSSIBILITY OF SUCH DAMAGE. http: www.freescale.com mail: support@freescale.com IARSourceLicense.txt Version 1.0 The following license agreement applies to linker command files, example projects unless another license is explicitly stated, the cstartup code, low_level_init.c, and some other low-level runtime library files. Copyright 2012, IAR Systems AB. THE SOFTWARE IS PROVIDED "AS IS" AND THE AUTHOR DISCLAIMS ALL WARRANTIES WITH REGARD TO THIS SOFTWARE INCLUDING ALL IMPLIED WARRANTIES OF MERCHANTABILITY AND FITNESS. IN NO EVENT SHALL THE AUTHOR BE LIABLE FOR ANY SPECIAL, DIRECT, INDIRECT, OR CONSEQUENTIAL DAMAGES OR ANY DAMAGES WHATSOEVER RESULTING FROM LOSS OF USE, DATA OR PROFITS, WHETHER IN AN ACTION OF CONTRACT, NEGLIGENCE OR OTHER TORTIOUS ACTION, ARISING OUT OF OR IN CONNECTION WITH THE USE OR PERFORMANCE OF THIS SOFTWARE. Name: Biquad.c Name: Biquad.h Description: Provides a template for implementing IIR filters as a cascade of second-order sections, aka, "biquads". by Grant R. Griffin Copyright 2007-2015, Iowegian International Corporation (http://www.iowegian.com) The Wide Open License (WOL) Permission to use, copy, modify, distribute and sell this software and its documentation for any purpose is hereby granted without fee, provided that the above copyright notice and this license appear in all source copies. THIS SOFTWARE IS PROVIDED "AS IS" WITHOUT EXPRESS OR IMPLIED WARRANTY OF ANY KIND. See http://www.dspguru.com/wide-open-license for more information.Freescale Kinetis Design Studio
IAR Embedded Workbench for ARM
Iowegian ScopeIIR
Preface
The Tektronix IsoVu® (TIVP) Generation 2 is a completely galvanically isolated probe tip cable, sensor head, and TekVPI interface as shown in the following figure. Hazardous voltages in the sensor head are completely isolated from the oscilloscope by optical fiber cables.

Compensation box
The TekVPI compensation box (comp box) connects the measurement system to one of the input channels on the oscilloscope. Power is supplied to the measurement system through the TekVPI interface of the oscilloscope. The buttons and indicators on the comp box provide a means for controlling the probe and indicating the overall status.
Sensor head
The sensor head provides an interface between the device-under-test (DUT) and the compensation box. It contains an electro-optic converter that converts the electrical signal from the sensor tip cables to an optical signal sent to the comp box.
Sensor tip cables
Several sensor tip cables options are available to connect the sensor head to the DUT:
- TIVPMX10X, 10X MMCX tip cable connector
- TIVPMX50X, 50X MMCX tip cable connector
- TIVPSQ100X, 100X 0.1-inch (2.54 mm) square pin connector
- TIVPWS500X, 500X 0.2-inch (5.08 mm) square pin connector
- TIVPMX1X, 1X MMCX tip cable connector
Models
The TIVP Series IsoVu Measurement System includes the following models:
- TIVP1. Tektronix IsoVu® Generation 2; 1 GHz Isolated Probe
- TIVP05. Tektronix IsoVu® Generation 2; 500 MHz Isolated Probe
- TIVP02. Tektronix IsoVu® Generation 2; 200 MHz Isolated Probe
- TIVP1L. Tektronix IsoVu® Generation 2; 1 GHz Isolated probe (10 m cable)
- TIVP05L. Tektronix IsoVu® Generation 2; 500 MHz Isolated probe (10 m cable)
- TIVP02L. Tektronix IsoVu® Generation 2; 200 MHz Isolated probe (10 m cable)
Supported oscilloscopes
The measurement system can only be used with the 4, 5, and 6 Series Mixed Signal Oscilloscopes with oscilloscope software version 1.28 or greater.
Standard accessories
The following table lists the accessories that are shipped with the probe.
| Accessory | Description | Part number |
|---|---|---|
|
| The 10X MMCX tip is included in every TIVP. The MMCX tip is recommended for the best bandwidth and CMRR performance. 0.100" Square Pin and 0.200" Wide Square Pin tips are available as optional accessories. | TIVPMX10X |
![]() | Bipod is used to hold the probe. | 020-3210-XX |
![]() | Probe tip adapter. Adapts an MMCX IsoVu tip to standard 0.100" spaced, 0.025" square pins. | 131-9717-XX |
![]() | SMA wrench/driver tool (5/16") for use on a SMA connector. | 003-1947-XX |
![]() | Soft carrying case with foam insert protects the TIVP and enforces the optical fiber minimum bend radius. | 016-2147-XX |
| 10 m version | 016-2149-XX |
Recommended accessories
The following table lists optional accessories.
| Accessory | Description | Part number |
|---|---|---|
| 50X MMCX probe tip | TIVPMX50X | |
| 100X probe tip with 0.100" spaced square pin connector | TIVPSQ100X | |
| 500X probe tip with 0.200" spaced wide square pin connector | TIVPWS500X | |
| 1X MMCX probe tip | TIVPMX1X | |
![]() | Square pin to MMCX adapter, 0.062" spacing | 131-9677-XX |
![]() | Probe tip tripod support | 352-1170-XX |
|
| MMCX to IC grabber lead | 196-3546-XX |
|
| Square pin to IC grabber lead | 196-3547-XX |
![]() | Kit, wide square pin to banana jack with alligator clamps and support brace | 020-3189-XX |
![]() | Square pin Y-lead | 196-3434-XX |
| MicroCKT grabbers | 206-0569-XX | |
![]() |
Spare pins for 0.062" spaced test points Solder aid for 0.062" spaced square pins |
020-3169-XX 003-1946-XX |
Operating information
Use this section to help you use the probe safely and effectively. Read all safety information before installing your measurement system to be aware of the operating and clearance requirements, including possible hazardous areas when the measurement system is connected to the device under test (DUT).
Measurement system handling best practices
The measurement system consists of quality parts and should be treated with care to avoid damage or degrading the performance due to mishandling. Consider the following precautions when handling the probe and tips.
- Do not crush, crimp, or sharply bend the probe cable. Avoid making loops in the cable smaller than 5 inches (12.7 cm).
- Do not twist the cable. Twisting the cable will stress the optical fibers.
- Do not allow kinks or knots to develop in the probe cable.
- Avoid putting tension on the probe cable.
- Do not pull or jerk the cable, especially when kinks or knots are present.
- Do not drop the probe head or comp box assembly. This can result in damage and misalignment of the internal components.
- Avoid over-bending the probe tips; do not exceed the minimum bend radius of 2.0 inches (5.1 cm).
- Avoid crushing the cables by accidentally running over the cable with a chair wheel or by dropping a heavy object onto the cable.
- Never support the weight of the probe head or comp box by the probe cable.
- Store the measurement system in the supplied carrying case when not in use.
Controls and indicators
A description of the controls and indicators on the compensation box.

- STATUS indicator.
- SELF CAL button and LED indicator: Press to start self-calibration routine.
- INPUT Termination button and LED indicator: With no tip attached, press to toggle the sensor head between 50 Ω and 1 MΩ termination. For more information on the state of the LED
- MENU button: Press to open the Probe Vertical menu on the oscilloscope.
- ALT mode indicator: Displays special information about the probe.
Cable flags
Flags on the cable provide high-level specifications for connecting to the DUT. They also provide a potential RF burn hazards warning, laser exposure warning, and a self-calibration notification.

Probe tips
Each probe tip has a label that provides the maximum dynamic range and displays the attenuation factor.

Connecting to a circuit
![]() | WARNING:This measurement system contains laser sources; exposing these laser sources may cause laser exposure. Except for the sensor tip cables on the sensor head, do not remove any plastic or metallic covers from the sensor head or comp box or attempt to disassemble the product. |
![]() | WARNING:Do not connect the measurement system to an energized circuit to avoid the risk of shock. Always de-energize the circuit-under-test before installing or removing the tip cable from the circuit-under-test. The plastic case of the sensor head and the shield tip of the sensor cable do not supply the isolation. |
![]() | WARNING:To avoid the risk of electrical shock or RF burns while the DUT is energized, do not touch the sensor head or sensor tip cable while taking measurements. Always keep a 1 m (40 in.) clearance from the sensor head during the measurement. Figure 2
Be sure to check the maximum ratings and derating curve for more information on the RF burn hazard zone. Figure 1 |
![]() | CAUTION:To avoid possible damage to the equipment, do not connect the coaxial (common) shield of the sensor tip cable or SMA input to the high impedance portion of a circuit. The additional capacitance can cause circuit damage. Connect the coaxial (common) shield to the low impedance section of the circuit. |
![]() | Note:Touching the sensor head or sensor tip cable when measuring a high frequency common mode signal increases the capacitive coupling and can degrade the common mode loading on the circuit-under-test. |
![]() | WARNING:To prevent the arc flash caused by a different potential, do not place the sensor head or sensor tip cable on the circuit that has the different voltage. |
The following steps describe the process for connecting the measurement system between an oscilloscope and the DUT.
- Verify the DUT is not connected to an energized circuit.
- Connect the comp box to one of the channels on the oscilloscope.

- Install the sensor tip cable to the sensor head.
- Line up the sensor tip cable with the sensor head. Take care to avoid bending or twisting the sensor tip cable assembly during this process.
- Connect the SMA connector of the sensor tip cable to the sensor head. Use the SMA wrench to tighten the SMA cable to 4 to 5-in lbs. Use the adjustment tool that was shipped with your probe.
Figure 1. Connecting the sensor tip cable to the sensor head 
- Connect the sensor head to the bipod or a similar support. Using a support keeps the sensor head steady, reducing the potential mechanical stresses at the electrical connection point of the DUT. The support also keeps the sensor head away from surrounding circuits and conductive objects to minimize the parasitic capacitive coupling to these surroundings.
Figure 2. Connecting the sensor head to the bipod 
Note:To obtain the most accurate measurement, allow the measurement system to warm up for 20 minutes. Then perform the self-calibration before connecting the tip cable to the DUT and taking the measurement. - Connect the sensor tip cable end to the DUT. If you are using MMCX sensor tip cable, connect it to an MMCX connector on the DUT or to a square pin adapter on the DUT. The adapters connect to square pins with either 0.100-inch (2.54 mm) spacing or 0.062-inch (1.57 mm) spacing. Figure 1
If you are using one of the square pin sensor tip cables, connect it directly to the square pins on the DUT. Connecting the sensor tip cables
-
Set up the controls on the oscilloscope.
-
Apply power to the DUT to take the measurement.
Self-calibration
The TIVP contains a self-calibration function that corrects gain accuracy, DC offset, and frequency response. These parameters change as the probe warms up to the operating temperature and remain constant once the temperature reaches steady-state. After the probe warms up, self-calibration is recommended when there is a 5°C change in ambient temperature. An indicator LED on the compensation box provides the status of the self-calibration. See the Controls and indicators for more information on the LEDs.
To check the status of the self-calibration programmatically, use the SELFCAL:STATE? PI command to determine whether a self-calibration is RECOMMENDED, RUNNING, or PASSED.
Before performing critical measurements, run a self-calibration to ensure the probe is compensated.
![]() | Note:The sensor tip cable does not need to be removed from the test point to successfully complete the self-calibration. |
- Connect probe to an oscilloscope channel.
- Press the SELF CAL button on the probe compensation box. The Self Cal indicator LED will blink while self-calibration is in process.
- Self-calibration is complete when the indicator LED displays green.
To run the self-calibration programmatically, use the CH<x>:PROBE:SELFCAL EXECUTE PI command. The connected channel is specified by "x".
The TIVP probe takes about 20 minutes to warm up. During this time, acquired waveforms may show obvious aberrations. The following screen shot shows how a 1 KHz square wave appears at the beginning of the warm-up period. Notice how the probe appears to be uncompensated.
![]() | Note:When moving a probe that has fully warmed up to a new oscilloscope channel, you must give the probe another 5 minutes to warm up on the new channel. |

After 20 minutes, most of the aberrations are gone. Self-calibration can be used before the probe reaches its operating temperature, however those self-calibration settings will become invalid a few minutes later as the internal temperature changes.

Self-calibration takes less than 2 minutes to complete. Your signal does not need to be disconnected from the probe head when running self-calibration. The LED next to the SELF CAL button on the compensation box will flash yellow during the operation. When complete, the LED will either turn green (passed) or red (failed).
The SelfCal Status indicator in the oscilloscope Probe Setup menu indicates whether self-calibration is required.
![]() | Note:In 4/5/6 Series Mixed Signal Oscilloscopes, commands are available to start and monitor self-calibration and a status query to determine if self-calibration is needed. |
AutoZero
AutoZero and self-calibration work on different parts of the measurement system. Self-calibration optimizes measurements through adjusting parameters in the probe. AutoZero is an oscilloscope function and is used when a displayed waveform is not centered correctly (for example; due to a small DC offset error). AutoZero automatically runs after self-calibration.
It is not necessary to disconnect your signal from the probe when running a self-calibration. However, when AutoZero is run by itself, the signal must not be present.
When the probe changes between its internal ranges it may be beneficial to run an AutoZero from the oscilloscope. The probe internal range will change in Auto Range mode when the vertical scale of the oscilloscope is changed. The probe internal range will also change in Manual Range mode if a different range is selected from the Probe Setup menu in the channel vertical settings.
Menu button
Press the MENU button on the comp box to view the Probe Setup menu on the oscilloscope.

Use the menu options on the oscilloscope to change the probe settings.
Ranges
The measurement system has a variety of ranges available for you to select, whether the probe is being used with or without a tip. This allows for tradeoffs to be made between noise and dynamic range depending on the needs of the measurement being made.
![]() | CAUTION:To avoid damaging the probe, do not exceed the Peak Voltage rating for a given tip or the probe head. The Maximum Non-Destruct Voltage limit (Peak Voltage) does not increase when the Probe Ranges are changed. For example, the TIVPMX50X limit of ±250 Vpk is the same for all range settings. |
In 4, 5, and 6 Series MSO Instruments, the ranges are selectable when Range Mode is set to Manual. The recommended V/div settings are displayed in the table below. The ranges shown are for the probe SMA input and 1X tip. Multiply the range and V/div setting by the tip attenuation to get the values for a probe tip.
| 4/5/6 Series MSO probe ranges | Recommended V/div setting |
|---|---|
| 20 mV | 2 mV/div |
| 40 mV | 5 mV/div |
| 80 mV | 10 mV/div |
| 160 mV | 20 mV/div |
| 320 mV | 50 mV/div |
| 640 mV | 100 mV/div |
| 1.28 V | 200 mV/div |
| 2.56 V | 500 mV/div |
| 5 V | 1 V/div |
When using a tip, the label of each probe tip shows the maximum dynamic range and the attenuation factor. For example, the TIVPMX10X has a 10X attenuation factor and displays a signal with a ±50 V differential voltage. When more sensitive ranges are selected, dynamic range is limited. Refer to the Linear differential input voltage range in the specifications table for more information.
Auto Range
The Range Mode is selectable for either Auto or Manual. When the Range Mode set to Auto, the probe range is automatically selected when the V/div knob on the oscilloscope is turned. The relationship between probe range and V/div setting matches that shown in Ranges and 4/5/6 Series MSO Volts/div settings table.
Selecting a probe tip
![]() | CAUTION:Avoid over-voltage conditions that can damage or degrade the probe head input termination by selecting the correct probe tip. Selecting the correct probe tip attenuation factor is crucial to ensure that the probe head input termination is not degraded or damaged by an over-voltage condition. Select the probe tip that will provide the lowest attenuation possible for the signal being measured. |
When selecting a probe tip for a particular application, consider the following questions:
- What is the maximum RMS/Peak Voltage at the test point being measured (for example, under a fault condition)?
- What is the minimum single-ended input resistance that my circuit can tolerate?
- How large of a signal do I want to display at one time on the oscilloscope?
- What sensitivity do I need (for example, the minimum V/div setting)?
The following table will help you select the correct probe tip. Start at the top of the table and work down. Choose the first tip that meets all of your criteria.
| Probe tip | Most sensitive V/div setting | Dynamic range | Maximum non-destruct voltage (DC + pk AC) | Single-ended input resistance |
|---|---|---|---|---|
| TIVPWS500X | 500 mV | ±2500 V | 3300 Vpk | 40 MΩ |
| TIVPSQ100X | 100 mV | ±500 V | 600 Vpk | 9.75 MΩ |
| TIVPMX50X | 50 mV | ±250 V | 300 Vpk | 9.75 MΩ |
| TIVPMX10X | 10 mV | ±50 V | 250 Vpk | 10 MΩ |
| TIVPMX1X | 1 mV | ±5 V | 100 Vpk / 5 VRMS | 1 MΩ / 50 Ω |
| SMA Input 1 MΩ | 1 mV | ±5 V | 100 Vpk | 1 MΩ |
| SMA Input 50 Ω | 1 mV | ±5 V | 5 VRMS | 50 Ω |
For maximum non-destruct voltage refer to the Maximum differential input voltage vs frequency derating graph.
Deskew
Each probe comes loaded with nominal propagation delay values that can be automatically applied through the Vertical menu on the oscilloscope. Deskew accuracy can be improved using a known signal and a deskew fixture. When the timing relationships between waveforms is critical, always deskew your test system with known equipment.
Input offset
The measurement system provides an adjustable input referred offset voltage. This enables viewing a portion of the signal that is off-screen or examining sensitive behavior riding on a larger differential voltage. For example, a 0 V to 600 V step would normally exceed a ±500 V input range. By applying 300 V of offset, the 600 V step is brought into the dynamic range of the probe and can be viewed accurately. Offset is applied by the probe and has a much greater range than the oscilloscope alone.
Input coupling AC or DC
The TIVP sensor head contains both DC and DC Reject input coupling modes. By default, DC coupling is enabled; the mode is switchable through the scope interface or PI command.
The DC input coupling setting provides a direct, DC coupled, electrical path in the sensor head; it accepts all types of signals, including unchanging DC voltages, time-varying DC voltages, AC, and combinations of AC and DC.
When DC input coupling is selected, any applied offset is injected at the sensor head and the offset range depends on the attached tip cable attenuation.
DC Reject input coupling setting provides an AC- only path in the sensor head, removing DC offset from any mixed signal to view the AC component of the signal. DC reject is useful when you measure small amplitude signals superimposed on a large differential offset component.
With DC Reject enabled, offset is applied at the oscilloscope input and is limited by the offset capability of the specific Volts/Div setting on the oscilloscope multiplied by the selected tip attenuation.
Voltage range
The probe is designed to enable characterization of high frequency circuits with a wide range of differential voltages in the presence of common mode voltages. Understanding the limits and differences between the voltage ratings as discussed in this section is essential to optimize signal fidelity and measurement accuracy.
Although the common mode voltage range of the probe is very large (>60 kV), the differential input range is limited and depends on the tip attenuation, the gain range selected, and the applied offset.
The input voltage conditions are divided into several different input ranges.
Common mode voltage range
The probe head is optically isolated from earth ground, making the common mode input range >60 kV. The differential input range is more limited and refers to the signal that can be applied across the probe tip, regardless of the common mode voltage.
Differential voltage range refers to the actual measurement that will appear on the oscilloscope screen when using IsoVu™. For accurate results, the measurement must fall within the range of any applied offset ±Vdiff range of the tip.Vmeas=Voffset±Vdiff
Offset voltage range
Offset voltage can be applied through the oscilloscope Vertical menu settings. The input offset capability of the probe extends from ±25 V to ±2500 V depending on the tip used. This offset is applied at the probe head and can be useful to bring applied signals within the dynamic range (Vdiff) of the probe.
Maximum non-destruct differential voltage range
The maximum non-destruct differential input range is the maximum differential voltage that can be applied to the input without damaging the probe. This is a DC +peak AC rating (no portion of the differential input signal should exceed this value). The maximum non-destruct differential voltage varies from ±20 V to ±2500 V depending of the probe tip being used. Exceeding these levels will cause permanent damage to components of the probe head. Additionally, the TIVPMX1X and SMA input also have VRMS limits.
Connecting the sensor tip cables
Tektronix provides different types of sensor tip cables to connect to the circuit board.
The MMCX sensor tip series connect directly to MMCX connectors on the circuit board or to probe tip adapters installed on the circuit board. Installing the probe tip adapters
The square pin series sensor tip cables connect directly to the circuit board as shown in the following figure.

The SQPIN series sensor tip cables connect to 0.1-inch (2.54 mm) square pins on the circuit board. The WSQPIN series sensor tip cables connect to 0.2-inch (5.08 mm) square pins on the circuit board.
Probe tip tripod
Use the probe tip tripod to connect the probe tips to adapters on the circuit board. This tripod has flexible hinges to easily position the probe tip cable above the adapter on the circuit board. It is recommended to glue the tripod in place on the circuit board to provide additional support for the probe tips. The following figure shows an example of connecting to an adapter on the circuit board with the tripod; it reduces stresses on the test point.

Installing the probe tip adapters
There are two Tektronix probe tip adapters to connect the MMCX probe tips to pins on the circuit board. The MMCX-to-0.1-inch (2.54 mm) pitch adapter and the MMCX-to-0.062-inch (1.57 mm) pitch adapter.
One end of each adapter has an MMCX socket for connection to an IsoVu MMCX tip cable. The other end of the adapter has a center pin socket and four common (shield) sockets around the outside of the adapter. Notches on the adapters can be used to locate the shield sockets. The procedure for installing these adapters are the same, the main difference is the spacing of the pins on the circuit board.
To install the adapters onto the square pins, line up the center of the adapter with the signal source pin on the circuit board. Use the notch on the adapter to align one of the shield sockets to the common pin on the circuit board. The following figures show examples of lining up the adapters on the circuit board.
To achieve the best electrical performance, especially the CMRR performance and EMI susceptibility, place the probe tip adapter as close as possible to the circuit board.


After lining up the adapters gently push down on the adapter to seat it in place on the circuit board.


When the adapters are firmly in place on the circuit board connect the probe tip to the top of the adapter while using the probe tip tripod to ease the tension off the probe tip cable and adapter. Figure 1
Installing the square pins on the circuit board
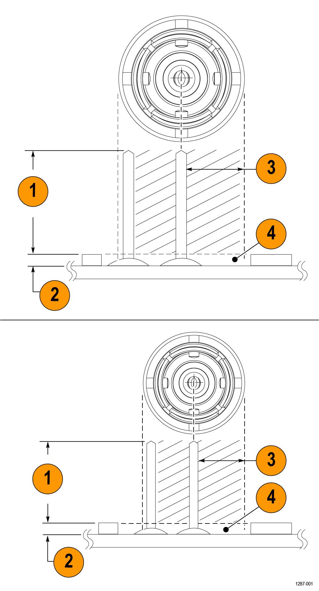
The following figure and table shows the recommended clearance requirements for connecting the adapters to the square pins on the circuit board. The bottoms of the adapters are shown at the top.

| Figure reference | Probe Tip Adapter, MMCX to 0.1” pitch sq. pin 0.635 mm (0.025 in) sq. pins | Probe Tip Adapter, MMCX to 0.062 in pitch sq. pin 0.406 mm (0.016 in) sq. pins |
|---|---|---|
| 1 | Recommend maximum pin length 6.00 mm (0.235 in) | Recommend maximum pin length 4.40 mm (0.170 in) |
| 2 | Minimize area between adapter and circuit board | |
| 3 | Keep out area (diameter of each adapter) | |
| 4 | Avoid or minimize components within keep out area | |
The 0.025-inch (0.635 mm) square pins should already be located on the circuit board. Some square pins might have headers installed on the circuit board. Tektronix recommends removing the plastic spacer from the square pins to gain closer access to the circuit board as shown in the following figure to achieve the best electrical performance, especially CMRR. You might need to use a pair of tweezers to remove the spacer as shown in the figure.

Tektronix provides a set of solder pins (0.018-inch (0.46 mm) diameter) to install on the circuit board for use with the MMCX to 0.062-inch (1.57 mm) adapter. Use the soldering aide tool accessory (Tektronix part number, 003-1946-xx) to install these pins on the circuit board.
The solder pins are extremely small and can be challenging to handle. Tektronix recommends using tweezers and a magnifying tool when installing the pins on the circuit board.
The solder pins can be installed around a surface mounted component on the circuit board, but adequate clearance should be maintained for a good electrical connection for the adapter. Figure 1
![]() | Note:The coaxial (common) shield of the probe tip and tip adapters should always be connected to the lowest impedance point (usually a circuit common or power supply rail) in the circuit-under-test (relative to the probe tip cable/center conductor) to obtain the most accurate waveform. |
Use the following steps to install the solder pins using the soldering aide on the circuit board:
- Carefully insert the solder pins into the soldering aide as shown in the following illustration.
Figure 3. Using the soldering aide to install the square pins on the circuit board 
- Use the soldering aide to hold the square pins in place while soldering the square pins to the circuit board.
- If necessary apply a small amount of adhesive to further strengthen the connection to the circuit board. However, keep the height of the adhesive to a minimum to provide good electrical contact for the adapter. Figure 1
Specifications
The following tables list the specifications for the measurement system. The specifications are Typical unless noted otherwise.
The performance limits in this specification are valid with these conditions:
-
The instrument must be in an environment with temperature, altitude, and humidity within the operating limits described in these specifications.
-
The instrument must have had a warm-up period of at least 20 minutes.
-
The measurement system is powered from a TekVPI compatible oscilloscope.
Warranted specifications describe guaranteed performance with tolerance limits or certain type-tested requirements.
The performance verification procedures are listed later in this document. Performance verification procedures
Overview
| Characteristic | TIVP1 | TIVP05 | TIVP02 |
|---|---|---|---|
| Bandwidth | 1 GHz | 500 MHz | 200 MHz |
| Rise time | 450 ps | 850 ps | 2 ns |
- Differential Input Voltage Range, Offset Range, Single-ended Impedance
- Use only the sensor tip cables listed.
- Common Mode Rejection Ratio
- Approximately 20 dB lower in ±5 V Range, except at DC.
- Maximum Non-Destructive Differential Voltage
- Derated with frequency; refer to the Maximum differential input voltage vs. frequency derating graph in the Specifications section of the TIVP Series IsoVu Measurement System User Manual.
- Common mode voltage range
- 60 kV peak
- Common mode input impedance (typical)
-
- Input resistance
- Galvanically isolated through the fiber optic connection
- Input capacitance
- <2 pF
- DC gain accuracy
-
- Differential DC gain accuracy
- <1.5% after self-cal; additional 4.5% within 4C of self-cal
- System noise (RMS)
-
Sensor tip cable ±20 mV range (most sensitive) ±320 mV range ±5 V range (widest range) SMA Input (50 Ω mode) 0.43 mV rms 1.46 mV rms 48 mV rms SMA Input (1 MΩ mode) 0.43 mV rms 1.46 mV rms 48 mV rms TIVPMX10X 4.3 mV rms 14.6 mV rms 480 mV rms TIVPMX50X 21.5 mV rms 73 mV rms 2.4 V rms TIVPSQ100X 43 mV rms 146 mV rms 4.8 V rms TIVPWS500X 215 mV rms 730 mV rms 24 V rms
- Propagation delay
-
- 2 meter cable
- 18.3 ns (19.3 ns with tip attached)
- 10 meter cable
- 63.7 ns (64.7 ns with tip attached)
Common mode rejection ratio graphs
The ability to measure common mode rejection ratios (CMRR) of the IsoVu system below 100 kHz is limited by the dynamic range of test systems. Due to the optical isolation of the IsoVu sensor head, the DC CMRR performance of all tip cables is expected to be greater than 160 dB.
The following figure shows the typical CMRR values for the supported sensor tip cables.

Maximum differential input voltage vs frequency derating graph
The following figure shows the derating values for the supported sensor tip cables.

Frequency response graph
The following figure shows the frequency response for each probe.

Single-ended input impedance graphs
The following figure shows the single-ended input impedance vs. frequency values for the supported sensor tip cables.

Physical specifications
| Characteristic | Description |
|---|---|
| Net weight (Weight does not include accessories and packaging.) | Tip cable assembly: 25g (0.055 lb) |
| Probe head: 0.363 kg (0.8 lbs) | |
| Compensation box: 0.816kg (1.8lbs) | |
| Sensor tip cables | 0.025 kg (0.055 lb) |
| Sensor tip cable length | 20.03 cm (7.886 inches) |
| Fiber cable length | 2 meter (6.56 ft) |
| 10 meter (32.81 ft) |
Dimensions



IsoVu measurement system block diagram
The following figure shows a block diagram of the IsoVu measurement system.

The common mode resistance and capacitance to earth ground is shown in the figure. The common mode resistance is shown as R parasitic and is essentially infinite with the IsoVu measurement system since it is galvanically isolated and can be ignored. The common mode coupling capacitance to earth ground and the surrounding circuit is shown as the Parasitic Bridging Capacitance (C parasitic). This parasitic capacitance will be approximately 2 pF when the sensor head is placed six (6) inches (15.25 cm) above a ground plane.
To minimize the effects of common mode capacitive loading consider the following items:
- Whenever possible, choose a reference point in the circuit-under-test that is static potential with respect to earth ground.
- Connect the coaxial (common) shield of the sensor tip cable to the lowest impedance point of the circuit.
- Increasing the physical distance between the sensor head and any conductive surface will reduce the parasitic capacitance.
- When using multiple IsoVu systems to measure different points in the circuit that do not have the same common mode voltages, keep the sensor heads separated to minimize the capacitive coupling.
Performance verification procedures
Use the following procedures to verify the performance of the IsoVu measurement system. Before beginning the procedures, photocopy the test record and use it to record the performance results. Test record
| Description | Minimum requirements | Example product |
|---|---|---|
|
Supported oscilloscope with TekVPI interface | 50 Ω input support, fully compatible with TekVPI interface | Tektronix 5 Series MSO |
| SMA male short circuit connector cap (optional) | Internally shorted, copper plated contact | Fairview Microwave SC2135 |
Preparation
Prepare the equipment as follows:
-
Turn on the TekVPI oscilloscope.
- Connect the TIVP probe to the oscilloscope on CH 1.
- Remove any TIVP probe tip, if attached
- Attach SMA Male short circuit cap (optional)
-
Allow the test equipment to warm up for 30 minutes at an ambient temperature of about 20 °C.
System RMS Noise
This procedure verifies that the TIVP Series IsoVu measurement system is functioning and meets the warranted noise specification. The noise will be measured with no input signal at the most sensitive range.
About this task
This procedure is valid for all versions of the TIVP Series IsoVu measurement systems.
Procedure
Test record
Use the test record table for recording the results of the performance verification procedures.
|
Model number:
Serial number:
|
Procedure performed by:
Date:
|
| Probe | Range | Limit | Test result |
|---|---|---|---|
| TIVP1 | 20 mV | 1 mV RMS |
|
| 40 mV | 1 mV RMS |
| |
| 80 mV | 1 mV RMS |
| |
| 160 mV | 1.5 mV RMS |
| |
| 320 mV | 3 mV RMS |
| |
| 640 mV | 6 mV RMS |
| |
| 1.28 V | 12 mV RMS |
| |
| 2.56 V | 24 mV RMS |
| |
| 5 V | 48 mV RMS |
| |
| TIVP05 | 20 mV | 0.7 mV RMS |
|
| 40 mV | 0.7 mV RMS |
| |
| 80 mV | 0.7 mV RMS |
| |
| 160 mV | 1.1 mV RMS |
| |
| 320 mV | 2.1 mV RMS |
| |
| 640 mV | 4.2 mV RMS |
| |
| 1.28 V | 8.5 mV RMS |
| |
| 2.56 V | 17 mV RMS |
| |
| 5 V | 34 mV RMS |
| |
| TIVP02 | 20 mV | 0.5 mV RMS |
|
| 40 mV | 0.5 mV RMS |
| |
| 80 mV | 0.5 mV RMS |
| |
| 160 mV | 0.7 mV RMS |
| |
| 320 mV | 1.3 mV RMS |
| |
| 640 mV | 2.6 mV RMS |
| |
| 1.28 V | 5.2 mV RMS |
| |
| 2.56 V | 11 mV RMS |
| |
| 5 V | 21 mV RMS |
|
Maintenance
Information to isolate possible failures and procedures for maintaining your probe.
Service offerings
Tektronix provides service to cover repair under warranty and other services that are designed to meet your specific service needs.
Whether providing warranty repair service or any of the other services listed below, Tektronix service technicians are well equipped to service the IsoVu measurement system. Services are provided at Tektronix Service Centers and on-site at your facility, depending on your location.
Warranty repair service
Tektronix warrants this product as described in the warranty statements at the front of this manual. Tektronix technicians provide warranty service at most Tektronix service locations worldwide. The Tektronix Web site provides information on all service locations worldwide.
Calibration and repair service
In addition to warranty repair, Tektronix Service offers calibration and other services that provide cost-effective solutions to your service needs and quality standards compliance requirements. Tektronix instruments are supported worldwide by the leading-edge design, manufacturing, and service resources of Tektronix to provide the best possible service.
Cleaning
![]() | CAUTION:To prevent damage to the measurement system, do not expose it to sprays, liquids, or solvents. Avoid getting moisture inside the comp box or sensor head when cleaning the exterior. |
Clean the exterior surfaces with a dry, lint-free cloth or a soft-bristle brush. If dirt remains, use a soft cloth or swab dampened with a 75% isopropyl alcohol solution. Use only enough solution to dampen the cloth or swab. Do not use abrasive compounds on any part of the instrument.
Troubleshooting and error conditions
The following describes the state of each LED and possible problems that you might encounter when taking measurements with the probe. Use this as a quick troubleshooting reference before contacting Tektronix for service.
![]() | WARNING:The probe may emit high-power laser radiation that is invisible to the human eye. This radiation can cause permanent eye and skin injuries. If laser radiation is detected, the oscilloscope will report an accessory fault error and automatically power down the affected channel. If this error occurs, disconnect the probe and send the probe in for repair. |
| LED | Status | Action | |
|---|---|---|---|
![]() | Green (Solid) | Normal operation | - |
![]() | Green (Blinking) | Bulk power failure | Try unplugging and plugging back in. Inspect probe/oscilloscope interface. Service of probe may be required. |
![]() | Red (Solid) | Probe application failure | Try unplugging and plugging back in. Service of probe may be required. |
![]() | Red (Blinking) | Probe application failure and bulk power failure | Try unplugging and plugging back in. Inspect probe/oscilloscope interface. Service of probe and/or oscilloscope may be required. |
![]() | Red (Blinking • • – ) | Self-Test failure No Power to probe head | Discontinue use and disconnect the probe from the instrument. Return it to Tektronix for service (Ref. CS-SUP-0240). |
| LED | Status | |
|---|---|---|
![]() | Green (Solid) | Self-calibration completed successfully |
![]() | Amber (Intermittent flashing) | Self-calibration currently in progress |
![]() | Red (Solid) | Self-calibration failed |
![]() | Amber (Solid) |
Self-calibration recommended Internal probe temperatures or other settings have invalidated the previous Self Cal. |
| LED | Status | |
|---|---|---|
![]() | 50 Ω | Sensor head SMA connector is terminated in 50 Ω ±5 V input range |
![]() | 1 MΩ | Sensor head SMA connector is terminated in 1 MΩ ±5 V input range |
| Neither | Sensor head has tip attached (switching input termination disabled) | |
| LED | Status | |
|---|---|---|
![]() | Magenta (Flashing) | The probe compensation box is near its maximum operating temperature. Additional cooling, such as an external fan, may be required. |
| Problem | Solution | ||
|---|---|---|---|
| DC offset is present in signal |
| ||
| The Square Wave edge appears “smoothed”, rolled off, or uncompensated |
| ||
| The measured amplitude is smaller than expected |
| ||
| DC measurement inaccuracy |
| ||
| There is too much noise and you cannot accurately measure small signals |
| ||
| There is no signal detected; the waveform is a flat line |
| ||
| The probe head loses power intermittently |
| ||
| There is too much common mode noise |
| ||
| No tip detected warning |
| ||
Repack the measurement system for shipment
If you need to return the measurement system to Tektronix for repair, use the original packaging. If this is unavailable or not fit for use, contact your Tektronix representative to obtain new packaging.
When you return the measurement system to Tektronix, attach a tag showing the following information:
-
Name of the product owner
-
Address of the owner
-
Instrument serial number
-
A description of problems encountered and/or service required
Remote programming
This sections describes commands and queries that can be sent to the sensor head when attached to a Tektronix oscilloscope. Long-form and short-form keywords are indicated with upper/lower case letters. The commands and queries are supported by most oscilloscopes; differences in supporting oscilloscopes, if any, are described with the commands.
For additional information, refer to the programmer documentation for your oscilloscope.
Command list
The commands and queries are supported by most oscilloscopes; differences in supporting oscilloscopes, if any, are described with the commands. For additional information, refer to the programmer documentation for your oscilloscope.
CH<x>:PRObe? (Query Only)
This query-only command returns all information concerning the probe that is attached to the specified channel. The channel is specified by x.
- Syntax
CH<x>:PRObe?- Examples
CH2:PROBE?might return1.0000E-01; RESISTANCE 1.0000E+07;UNITS "V";ID:TYPE "10X"'SERNUMBER "N/A"for a 10X probe, indicating that (among other parameters) the attenuation factor for the probe attached to Channel 2 is 100.0 mV (assuming that probe units are set to volts).
CH<x>:PRObe:AUTOZero (No Query Form)
This command executes the AutoZero function. The operation is entirely performed by the oscilloscope. The channel is specified by x.
Refer to the self-calibration procedure for information on performing the self calibration. Self-calibration
- Syntax
CH<x>:PRObe:AUTOZero EXECute- Arguments
EXECutesets the probe attached to the specified channel to AutoZero.- Examples
CH1:PROBE:AUTOZERO EXECUTEsets the probe attached to the Channel 1 to autozero.
CH<x>:PRObe:FORCEDRange
The command selects the dynamic range of probe (1 of 9) in +/-V. It is dependent on the attached probe tip. The channel is specified by x. The command should only be used when CH<x>:PROBECONTROL is set to MANUAL.
| Probe tip cable | Dynamic Range +/-V |
|---|---|
| No tip or 1X tip | 0.02 | 0.04 | 0.08 | 0.16 | 0.32 | 0.64 | 1.28 | 2.56 | 5.0 |
| 10X | 0.2 | 0.4 | 0.8 | 1.6 | 3.2 | 6.4 | 12.8 | 25.6 | 50.0 |
| 50X | 1.0 | 2.0 | 4.0 | 8.0 | 16.0 | 32.0 | 64.0 | 128.0 | 250.0 |
| 100X | 2.0 | 4.0 | 8.0 | 16.0 | 32.0 | 64.0 | 128.0 | 256.0 | 500.0 |
| 500X | 10.0 | 20.0 | 40.0 | 80.0 | 160.0 | 320.0 | 640.0 | 1280.0 | 2500.0 |
The query returns the dynamic range of the probe tip in +/-V.
- Syntax
CH2:PRObe:FORCEDRange <NR3>- Arguments
<NR3>specifies the probe dynamic range- Examples
-
If a current probe is attached to the Channel 1 input,
CH1:PROBE:FORCEDRANGE 5.0sets the attached probe to its 5 V range.CH3:PROBE:FORCEDRANGE?might return5.0000, indicating that the range of the probe attached to the Channel 3 is set to 5 V.
CH<x>:PRObe:GAIN? (Query Only)
The command returns the gain factor of the currently selected range (inverse of attenuation). The channel is specified by x.
- Syntax
CH<x>:PRObe:GAIN?- Examples
CH2:PROBE:GAIN?might return100.0000E-3, indicating that the attached 10X probe delivers 0.1 V to the Channel 2 BNC for every 1.0 V applied to the probe input.
CH<x>:PRObe:ID? (Query Only)
This query-only command returns the type and serial number of the probe that is attached to the specified channel. The channel is specified by x.
- Syntax
CH<x>:PRObe:ID?- Examples
CH2:PROBE:ID?might return"B010289";"TIVP1", indicating that a TIVP1 probe with serial number B010289 is attached to Channel 2.
CH<x>:PRObe:ID:SERnumber? (Query Only)
This query-only command returns the serial number of the probe that is attached to the specified channel. The channel is specified by x.
![]() | Note:For Level 0 and 1 probes, the serial number will be “N/A”. |
- Syntax
CH<x>:PRObe:ID:SERnumber?- Examples
CH1:PROBE:ID:SERNUMBER?might return"B010289", indicating that the serial number of the probe attached to Channel 1 is B010289.
CH<x>:PRObe:ID:TYPe? (Query Only)
This query-only command returns the type of probe that is attached to the specified channel. The channel is specified by x.
- Syntax
CH<x>:PRObe:ID:TYPe?- Examples
CH1:PROBE:ID:TYPE?might return"TIVP1", indicating that a TIVP1 current probe is attached to Channel 1.
CH<x>:PRObe:RESistance? (Query Only)
This query-only command returns the resistance of the probe that is attached to the specified channel. The channel is specified by x.
- Syntax
CH<x>:PRObe:RESistance?- Examples
CH2:PROBE:RESISTANCE?might return10.00000E+6, indicating that the input resistance of the probe attached to Channel 2 is 10 MΩ. This query only returns valid data when a tip is attached. Otherwise, -1.0000 is returned.
CH<x>:PRObe:SELFCal:State? (Query Only)
This query-only command returns the self-calibration state of RECOMMENDED, RUNNING, or PASSED. The channel is specified by x.
- Syntax
CH<x>:PRObe:SELFCal:State?- Examples
CH1:PRObe:SELFCal:State?might returnRUNNING, indicating that the Channel 1 probe is currently running a self-calibration.
CH<x>:PRObe:SELFCal
This query-only command initiates self-calibration on the probe. The channel is specified by x.
- Syntax
CH<x>:PRObe:SELFCal EXECUTE- Examples
CH1:PRObe:SELFCal EXECUTEruns self-calibration on the Channel 1 probe.
CH<x>:PRObe:SET
This command sets or queries the probe input resistance for the specified channel. The channel is specified by x.
- Syntax
CH<x>:PRObe:SET {"50ohms ON"|"50ohms OFF"}- Arguments
- The text in quotes is not case sensitive. For returns, the case is the same as the last command received.
- Examples
CH6:PRObe:SET "50ohms ON"sets the input termination of channel 6 to 50 Ω.
CH<x>:PRObe:STATus? (Query Only)
This command queries the probe unsigned integer error value. The channel is specified by x.
- Conditions
- Requires a probe that supports the relevant error messages.
- Syntax
CH<x>:PRObe:STATus?- Returns
- Returns an integer number that represents the sum total of binary error bits B0 – B15. The error bits are not displayed; they are concatenated into the integer value. The following is a list of the error for each bit.
- B0 – Probe disabled
- B1 – Jaws open
- B2 – Over range
- B3 – Probe temperature out of limits
- B4 – Degauss needed
- B5 – Probe tip missing
- B6 – Probe tip failed
- B7 – Probe tip not supported
- B8 – self-calibration is needed or recommended (the query will return 256 in decimal format)
- B9 through B15 – Reserved
- Examples
CH4:PROBE:STATus?might return2, indicating that the probe is reporting an open jaws error.
CH<x>:PRObe:UNIts? (Query Only)
This query-only command returns a string describing the units of measure for the probe attached to the specified channel. The channel is specified by x.
- Syntax
CH<x>:PRObe:UNIts?- Examples
CH4:PROBE:UNITS?might return"V", indicating that the unit of measure for the probe attached to Channel 4 is Volts.
CH<x>:PROBECOntrol
This command sets or queries multirange probe range-control policy preference of the probe that is attached to CH<x>. The channel number is specified by x.
- Syntax
CH<x>:PROBECOntrol {AUTO|MANual}- Arguments
AUTOsets the values. The probe range is automatically calculated.- Examples
-
CH2:PROBECONTROL AUTOsets the values and the probe range is automatically calculated.
CH<x>:PROBEFunc:EXTAtten
This command is used to specify the attenuation value as a multiplier to the given scale factor on the specified channel. The channel is specified by x.
The query form of this command returns the user-specified attenuation.
- Syntax
CH<x>:PROBEFunc:EXTAtten <NR3>- Arguments
<NR3>is the attenuation value, which is specified as a multiplier in the range from 1.00E-10 to 1.00E+10.- Examples
CH1:PROBEFUNC:EXTATTEN 167.00E-3specifies an external attenuation, which is connected between the your input signal and the input of the probe attached to Channel 1.
CH<x>:PROBEFunc:EXTDBatten
This command sets or queries the input-output ratio (expressed in decibel units) of external attenuation or gain between the signal and the instrument input channels. The channel is specified by x.
The query form of this command returns the user-specified attenuation in decibels.
- Syntax
CH<x>:PROBEFunc:EXTDBatten <NR3>- Arguments
<NR3>is the attenuation value, which is specified in the range from -200.00 dB to 200.00 dB.- Examples
CH3:PROBEFUNC:EXTDBATTEN 2.5specifies an external 2.5 dB attenuator on Channel 3.
CH<x>:PROBEFunc:EXTUnits
This command sets the unit of measurement for the external attenuator of the specified channel. The channel is specified by x. The alternate units are used if they are enabled. Use the CH<x>:PROBEFunc:EXTUnits:STATE command to enable or disable the alternate units.
- Syntax
CH<x>:PROBEFunc:EXTUnits <QString>- Arguments
<QString>indicates the attenuation unit of measurement for the specified channel.- Examples
CH4:PROBEFUNC:EXTUNITS "Pascals"sets the unit of measurement for the Channel 4 external attenuator.
CH<x>:PROBEFunc:EXTUnits:STATE
This command sets or queries the custom units enable state for the specified channel. The channel is specified by x.
- Syntax
CH<x>:PROBEFunc:EXTUnits:STATE {ON|OFF|<NR1>}- Arguments
OFFargument turns off external units.- Examples
CH2:PROBEFunc:EXTUnits:STATE ONturns on external units.
CH<x>:PROBE:DYNAMICRANGE? (Query Only)
This command queries the dynamic range of the probe that is attached to the specified channel. The channel is specified by x.
- Syntax
CH<x>:PROBE:DYNAMICRANGE?- Returns
- The returned value is the delta between the current minimum and maximum range with some tolerance. It is also the delta between the probe range indicators (if currently displayed).
- Examples
CH1:PROBE:DYNAMICRANGE?might return1.3056, indicating that the dynamic range of the probe attached to the Channel 1 is set to 1.3056 V.
Help us improve our technical documentation. Provide feedback on our TekTalk documentation forum.


































